Achievements
Respecting our confidentiality agreements, we introduce you to a selection of projects representative of the variety of our clients.
In partnership with Dietlin, FiveCo has developed adaptable, secure and user-friendly watch displays that combine robust mechanics with intelligent electronics.
This showcase is a combination of skills from our engineering department, mixing mechanics, ultra-low power electronics, optics and embedded programming.
Secure necklace support, without protective glass between jewel and customer.
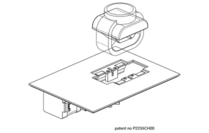
FiveCo has developed a trajectory controller for a tiny watch stepper motor.
Watch display without bell, working as a secure door through the use of an iPad.
FiveCo and Pilot Design have developed a very special object. A sculpture? A clock? Both.
Clock with a developed watch movement allowing the speed and position control of each of the three hands, this in a totally independent way.
Hinge allowing an original movement and opening of the case.
Concept presenting a watch in an aerial and secure way, while allowing you to see the back of its case.
Dynamic installation for 2 watches combining a modular sequencer and a contemporary design.
This display unveils 4 watches with elegance and technology.
With this new interactive system, the customer enjoys complete independence when purchasing his watch. The display, in the image of Tag Heuer, marks its avant-garde spirit.
This display presents products in a fun and safe way, in interaction with a touch-screen.
Display with IR sensors that activate the closing of a diaphragm in case of intrusion.
Display without glass, with motion detection and protection of the watch in case of intrusion.
Rotating display allowing a presentation of 2 watches. The secured showcase without glass allows a real proximity of the watch.
Synchronization of elements for a bundle animation.
This Carrousel showcase was enriched with a second tray and can support a weight over 50kg.
Ten years after the development of the Raptor display, we have reworked it whilst maintaining a system retractable in one tenth of a second if there is an intruder.
This motorized system is designed to display a watch dynamically, thanks to its compact mechanics.
This advanced sequencer can synchronize various elements to bring to life the showcase.
The electronic controls allow you to synchronize the 3 motors of the screens with videos custom-made for this system.
The Raptor allows you to retract the watch back into a secure zone in less than half a second.
Flexible film that allows you to modify transparency at will.
Magnifying glass discreetly integrated into a showcase
The electronic labels have a permanent display and operate without a battery.
This showcase gives the illusion that a watch is floating in the center thanks to the invisible mechanics.
This device enables the display of a video onto the surface of a sphere, both inside and outside.
Display of letters and shapes in a special liquid solution called Ferrofluid.
Synchronization of films and animations onto several OLED screens.
This standalone OLED display enables the creation of animations from any video, image or text.
This system allows for the display a watch under every angle thanks to a compact mechanical system.
This display allows the user to try on watches without touching them by placing their wrist through a glass bell and viewing up to four watches.
This device allows to amplify the natural sound of the watch by capturing the sound vibrations transmitted through the crown. The sound is then transmitted via a wooden resonance surround.
This watch case, once deployed, allows the user to view all the details of a watch.
This watch case in Makassar ebony integrates a touch button that allows to activate an LCD glass with an opacity driver and a white LED lighting system with UV. This system highlights the watch.
This watch display is a rotating plate with four niches, each showing a different setting.
The user can move around a watch and view the tiniest details via their web navigator.
FiveCo has developed the electronics for a controller allowing to program various animations onto liquid crystal glass composed of 45 different areas.
This case, equipped with a camera with LED lighting, provides a precise movement over a tray with three watches, in order to admire their details on a flat screen.
The Barrel can display up to four watches thanks to a turnstile system, at the same time preserving the Raptor‘s ingenious anti-theft feature.
This secure system for displays allows the removal of the glass casing. If a visitor comes too close to the displayed item, the latter vanishes inside the display case in less than 100 milliseconds.
This system allows the showcase to become interactive with the visitor as never before, bringing to the fore the value of the displayed pieces.